Strona w trakcie budowy.......... J
Mój odbiornik BC342 N jest zdecydowanie starszy niż ja -))
Tak wygląda moje radyjko ... no tylko
ten głośnik trochę z innej epoki -)
ale doskonale współpracuje
MOJ
EGZEMPLARZ
FOTO
z INTERNETU
Posiadam do niego pełną
dokumentację - ale wciąż brakuje czasu żeby go troszkę wyczyścić
Jeżeli link z
dokumentacją nie działa mogę podesłać 16
MB
Wdzięczy był bym jeżeli ktoś pomógł by mi określić dokładniej datę jego produkcji

Cały czas jest na chodzie i działa -))
nawet na kawałku drutu odbiera
jak będę miał nagranie z naszych pasm to je podmienię na NOWE
kompletny zestaw TX i RX z osprzętem wygląda bardzo okazale
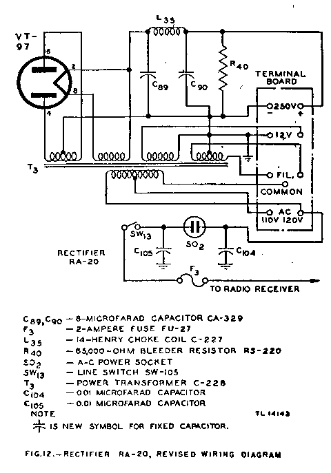
Poszukuję lampy do
zasilacza tego odbiornika - VT-97 lub odpowiednik 5W4 lub
podobny
( lista odpowiedników różnych
lamp)
Wszelkie pytania i sugestie kierować na email....
email: [email protected]
albo do księgi gości - jeżeli ją w końcu uruchomię J