Strona w trakcie budowy.......... J
Na tej stronie opisane są modyfikacje pozwalające na zwiększenie napięcie wyjściowego bez dodawania wzmacniacza
W wersji
płytek V07 zastosowano możliwość podłączenia rezystora i potencjometru do
regulacji napięcia wyjściowego wcz,

(scalak powyżej wlutowany jest lutownicą
transformatorową)
(montaż
PR-ka >> patrz zdjęcie i schemat poniżej)
Jeżeli nie
chcemy regulacji musimy koniec rezystora przylutować do masy układu
Wszystkie "udoskonalenia" dokonane
na podstawie karta katalogowych układów rodziny AD985x
Zwiększenie siły sygnału na
wyjściu >>>> Zmiana rezystora Rset
Zmniejszamy wartość rezystora Rset 3,9 na 1,95 kom - dolutowujemy równolegle drugi rezystor 3,9 koma
na wyjściu sygnał wzrośnie o około 6 dB w stosunku do wersji standardowej Rset=3,9 kom
czyli będzie około 180 mV Usk ( - 2dBm)
czyli 500 mV p-p miedzyszczytowo
Napięcie na impedancji wyjściowej 50 om
Zwiększenie siły sygnału na
wyjściu >>>> Zmiana rezystora Rset
Zmniejszamy wartość rezystora Rset 3,9 kom na 1,33 kom - dolutowujemy równolegle dwa rezystory 3,9 koma
na wyjściu sygnał wzrośnie o około 12 dB dB w stosunku do wersji standardowej Rset=3,9 kom
czyli będzie około 270 mV Usk (+4dBm)
czyli 750 mV p-p miedzyszczytowo
Napięcie na impedancji wyjściowej 50 om
UWAGA! układ pracuje wtedy przy maksymalnej "mocy" wyjściowej
Zwiększenie napięcia sygnału
na wyjściu dla innej impedancji wyjściowej
>>>> Zmiana rezystorów
przy wyjściach DDSa
Układ DDS może pracować z rezystorem na wyjściu (impedancja wyjściowa układu)
jeżeli przykładowo potrzebujemy podłączyć DDS VFO do mieszacza którego impedancja wejściowa jest np. 600om
na wyjściu układu DDS maksymalne napięcie to 1,5 V czyli prąd płynący przez impedancję obciążenia (300om) to 5 mA
Czyli wartość rezystora Rset powinna być 7,8 koma
Wyjście nieużywane należy zakończyć rezystorem 300 om
Wyjście z którego bierzmy sygnał zakończamy rezystorem 600om
sygnał podajemy do naszego mieszacza przez kondensator 100nF
na wyjściu będzie około 500 mV Usk
czyli 1500 mV p-p miedzyszczytowo
![]()

Płynna regulacja siły
sygnału na wyjściu >>>> Zmiana rezystora Rset + potencjometr
Wylutowujemy rezystor Rset 3,9 koma obok układu DDS
Wlutowujemy zamiast niego kondensator 100 nF
Do pinu układu podłączamy szeregowo rezystor 1,3 kom i potencjometr 10 kom A
Zakres regulacji to około 20 dB od około 30 mV Usk do około 270 mV Usk
(od -16 dBm do +4 dBm)
czyli od 75 mV do 750 mV p-p
miedzyszczytowo
Napięcie na impedancji wyjściowej 50 om

Na płytce PCB V07 rezystor RSET nie jest podłączony do masy i w zależności od opcji można podłaczyć
go na stałe do MASY albo dolutować PR-ek ja na zdjęciu i na schemacie poniżej
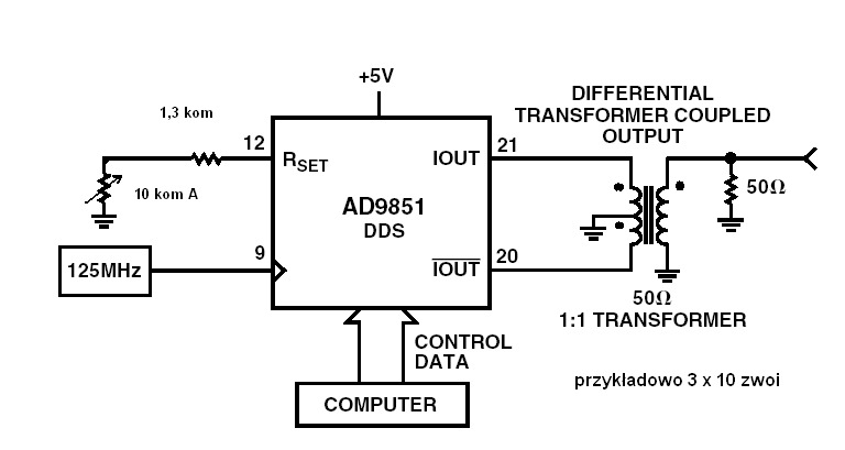
Zwiększenie siły sygnału na
wyjściu >>>> Transformator
Układ posiada dwa przeciwsobne wyjścia.
standardowo jedno z nich obciążone jest rezystorem 25 om a drugie 50 om + równolegle 50 om odbiornika ( 25 om)
Wylutowujemy obydwa rezystory (25 om i 50 om) oraz kondensator wyjściowy 100 nF
Do wyjść podłączamy transformator toroidalny i "terminujemy" go impedancją wyjściową

Według producenta taki transformator zmniejsza także pewne niepożądane sygnały na wyjściu
oraz zwiększa sygnał o dodatkowe 6dB czyli w "maksymalnej" wersji na wyjściu jest aż +10 dBm
Czyli około 700 mV Usk czyli 2000
mV p-p miedzyszczytowo
Na wyjściu
Można zastosować transformator o innym przełożeniu np. 1:10
i uzyskać w
ten sposób duże napięcie na impedancji 600om - około 8 V
(z
opisów powyżej tylko jeszcze tego trafa 1:10 nie sprawdziłem)
Prosty
nadajnik AM -))))
Zamiast potencjometru 10 kom podłączamy
mikrofon elektretowy
i mamy prosty nadajnik AM -)
Równolegle do potencjometru 10 kom ustawionego na wartość 5 kom podajemy sygnał mcz przez kondensator
i mamy prosty nadajnik AM
Kondensator pomiędzy nóżka
zmniejsza tylko ilość tonów wysokich - można go nie wlutowywać przy eksperymentach z modulowaniem AM
Bardziej profesjonalne rozwiązanie znajdziesz w opisie
Amplitude Modulation of the AD9850 Direct Digital Synthesizer
Dodatkowe ciekawe karty katalogowe ze strony Analog Device
Polecam zwłaszcza ten link > AN-557: An Experimenter's Project: (pdf, 377,565 bytes)
(Incorporating the AD9850 Complete DDS Device as a Digital LO Function in an
Amateur Radio Transceiver)
Wszelkie pytania i sugestie kierować na email....
email: [email protected]
albo do księgi gości - jeżeli ją w końcu uruchomię J